ハーレーのスイッチキャップとスイッチハウジングの交換

ハーレーのスイッチキャップとハウジングをクロームに交換する作業を以下、紹介します。

ハーレーの車種によりスイッチの数は異なるが、本ページでは純正型番71804-0370222-96Bのクロームキットに交換する。
社外製でも同等の作業となる。

ハウジング取り外し

ハウジング取り外し

まずスイッチハウジングをハンドルから外す。

続いてスイッチ部分をハウジングに固定しているスクリューを外し、ハウジングとスイッチを分離する。

スイッチとハウジングを分離

スイッチとハウジングを分離

キャップの外し方と入れ方

キャップの外し方と入れ方

さらにスイッチからスイッチキャップを取り外す。

中に小さなスプリングが入っているスイッチもあるので、なくさないように注意する。

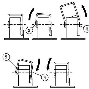
※キャップは斜めに外して斜めに入れる。

外れたらクロームのキャップを入れる。

外したところとクロームのキャップを入れたところ

外したところとクロームのキャップを入れたところ

スプリングを戻すところ

スプリングを戻すところ

※スプリングが入っていたスイッチは元に戻るよう向きなどに注意する。

ハウジング上側

ハウジング上側

スイッチキャップをすべてはめこんだら、スイッチハウジングの上側を被せ、もとのスクリューで固定する。

完成!

完成!

下側のハウジングも取り付けたら、スイッチハウジングをハンドルに戻す。

左右とも交換が完了したらスイッチが正常に作動しているかどうか確認する。

ページ作成・編集者

World Motor LifeHD-PARTS 専門スタッフ
こちらのコンテンツは、HD-PARTS専門スタッフが編集・作成しています。
カスタム経験を活かし、ハーレー乗りの視点で実用性の高い情報や、お客様よりお寄せいただいたご投稿をお届けしています。